FEATURES
Maximum working pressure:
3000 psi (206 bar) at 38°C
Working temperature:
From -54°C to 180°C with PEEK Packing.
A short handle gives quarter turn rust-free operation.
Valves with PTEF seats are supplied with short handles.
A robust pin is to create a positive stop.
The stem +with shoulder provides blowout proof design to maintain seal integrity at all pressure.
Optional sour gas service conforms to NACE Mr0175.
Ball valves are hydrostatic tested at the full rated pressure and low pressure pneumatic at 70 psi.
100% factory test
Description
Specification
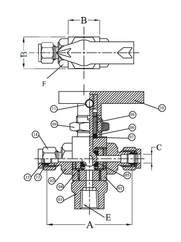
Bill of Material
| Sr. No. | Description | Material | Qty |
|---|---|---|---|
| 1 | Body | SS316 | 1 |
| 2 | OD Adaptor | SS316 | 2 |
| 3 | Female Adaptor | SS316 | 1 |
| 4 | Seat Ring | PTFE | 2 |
| 5 | Ball Stem | SS316 | 1 |
| 6 | Gland Seal | PTFE | 2 |
| 7 | Gland Washer | SS316 | 1 |
| 8 | Gland Retainer | SS316 | 1 |
| 9 | Check Nut | SS316 | 1 |
| 10 | Handle | Plastic | 1 |
| 11 | Grub Screw | SS304 | 1 |
| 12 | Front Ferrule | SS316 | 2 |
| 13 | Back Ferrule | SS316 | 2 |
| 14 | Nut | SS316 | 2 |
Note: All dimensions are subject to change without notice. All dimensions are in mm unless specified.
3000 PSI (OD) Specifications
| Model No. | A (mm) | B (SQ) (mm) | C | F (A/F) (mm) |
|---|---|---|---|---|
| GV-156-BV-3W-2 | 63.0 | 25.0 | 1/8"OD | 19.0 |
| GV-156-BV-3W-4 | 63.0 | 25.0 | 1/4"OD | 19.0 |
| GV-156-BV-3W-6 | 63.0 | 25.0 | 3/8"OD | 19.0 |
| GV-156-BV-3W-8 | 78.0 | 32.0 | 1/2"OD | 27.0 |
| GV-156-BV-3W-12 | 78.0 | 32.0 | 3/4"OD | 37.0 |
| GV-156-BV-3W-16 | 92.0 | 40.0 | 1"OD | 36.0 |
Note: All dimensions are subject to change without notice. All dimensions are in mm unless specified.
3000 PSI (NPT) Specifications
| Model No. | A (mm) | B (SQ) (mm) | C | F (A/F) (mm) |
|---|---|---|---|---|
| GV-156-BV-3W-2 | 63.0 | 25.0 | 1/8"NPT (F) | 19.0 |
| GV-156-BV-3W-4 | 63.0 | 25.0 | 1/4"NPT (F) | 19.0 |
| GV-156-BV-3W-6 | 63.0 | 25.0 | 3/8"NPT (F) | 22.0 |
| GV-156-BV-3W-8 | 78.0 | 32.0 | 1/2"NPT (F) | 27.0 |
| GV-156-BV-3W-12 | 92.0 | 40.0 | 3/4"NPT (F) | 36.0 |
| GV-156-BV-3W-16 | 106.0 | 45.0 | 1"NPT (F) | 41.0 |
Note: All dimensions are subject to change without notice. All dimensions are in mm unless specified.
